SOS-63.6-10
Thru-Hole Unthreaded Standoffs – Types SO, SOA SOS
SOS-63.6-10
Thru-Hole Unthreaded Standoffs – Types SO, SOA SOS
These standoffs, which use the proven self-clinching design, install with a squeeze in properly sized round holes – and become permanently mounted in the thin sheet.
Unthreaded standoffs are also available for spacing multi-panel assemblies.
Specifications
- For Use in Sheet Hardness
- HRB 70 / HB 125 or Less
- Length Code
- 10
- Product Category
- Thru-Hole Unthreaded Standoffs – Types SO, SOA SOS
- Thread Type
- PEM standoffs: Thru-hole, unthreaded
- Application Type
- Aerospace, Automotive, Automotive Electronics, Commercial Vehicles, Datacom, Electric Vehicle Chargers, Electric Vehicles, Electronics, Industrial, Manufacturing & Sheet Metal Fabrication, Marine, Medical, Renewable Energy, Telecom
- Base Panel Material
- Aluminum, Steel
- Brand
- PEM
- Fastener Characteristics
- Threaded Internal
- Industry
- Automotive Electronics, Datacom & Telecom, Electic Vehicles, Industrial & Commercial, Medical
- Installation Equipment/Method
- C-Frame Automatic Feed, C-Frame Manual Feed
- Product Type
- Standoffs
- Technology Type
- Self-Clinching
- Unit (Metric/Unified)
- Metric
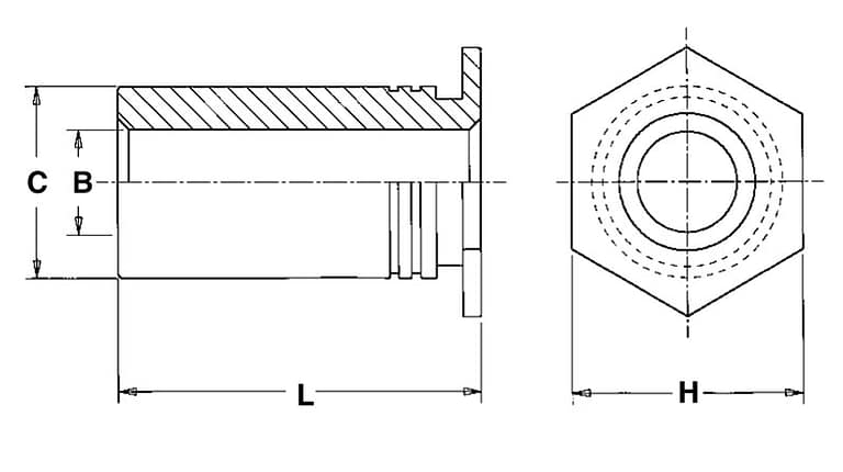
- B Thru Hole Diameter
- 3.6mm
- C – 0.13_mm
- 5.39mm
- H – Nom._mm
- 6.4mm
- Hole Size in Sheet + 0.08_mm
- 5.41mm
- L +0.05 -0.13_mm
- 10mm
- Min. Sheet Thickness_mm
- 1mm
Inventory
| Distributor | Quantity | Contact | Phone | Address | Locations |
|---|
