SO4-032-16
Thru-Hole Threaded Standoffs for Installation into Stainless Steel – Type SO4
SO4-032-16
Thru-Hole Threaded Standoffs for Installation into Stainless Steel – Type SO4
These standoffs, which use the proven self-clinching design, install with a squeeze in properly sized round holes – and become permanently mounted in the thin sheet.
Types SO4 standoffs are for installation into stainless steel sheets as thin as .040”.
If you require a standoff which we do not offer in this bulletin, please contact us. We will be happy to work with you to satisfy your special need.
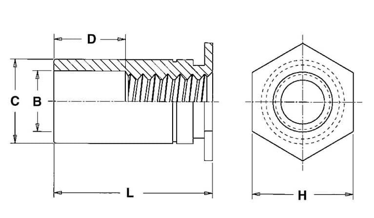
Specifications
- Thread Code
- 032
- Thread Specification
- 2B, Internal
- For Use in Sheet Hardness
- HRB 88 / HB 176 or Less
- Length Code
- 16
- Product Category
- Thru-Hole Threaded Standoffs for Installation into Stainless Steel – Type SO4
- Thread Type
- PEM for installing into stainless|PEM standoffs: Thru-hole, threaded|PEM standoffs: For installing into stainless
- Application Type
- Aerospace, Automotive, Automotive Electronics, Commercial Vehicles, Datacom, Electric Vehicle Chargers, Electric Vehicles, Electronics, Industrial, Manufacturing & Sheet Metal Fabrication, Marine, Medical, Renewable Energy, Telecom
- Base Panel Material
- Stainless Steel
- Brand
- PEM
- Fastener Characteristics
- Threaded Internal
- Industry
- Automotive Electronics, Datacom & Telecom, Electic Vehicles, Industrial & Commercial, Medical
- Installation Equipment/Method
- C-Frame Automatic Feed, C-Frame Manual Feed
- PEM Product Family
- SS
- Product Type
- Standoffs
- Technology Type
- Self-Clinching
- Unit (Metric/Unified)
- Unified
- B – Counter-Bore Dia. ± .005_in
- 0.203in
- C + .000 – .005_in
- 0.28in
- D ± .010_in
- 0.187in
- H – Nom._in
- 0.312in
- Hole Size in Sheet + .003 – .000_in
- 0.281in
- L +.002 -.005_in
- 0.5in
- Min. Sheet Thickness_in
- 0.05in
Installation & Performance Data
| TYPE | THREAD CODE | MAX. REC. TIGHTENING TORQUE FOR MATING SCREW (in. lbs.) | TEST SHEET MATERIAL | INSTALLATION (lbs.) | PUSHOUT (lbs.) | TORQUE-OUT (in. lbs.) | PULL-THRU (lbs.) |
|---|---|---|---|---|---|---|---|
| SO4, BSO4 | 032 | 32 | .050" 300 Series Stainless Steel | 10500 | 900 | 71 | 1368 |
Inventory
| Distributor | Quantity | Contact | Phone | Address | Locations |
|---|
